
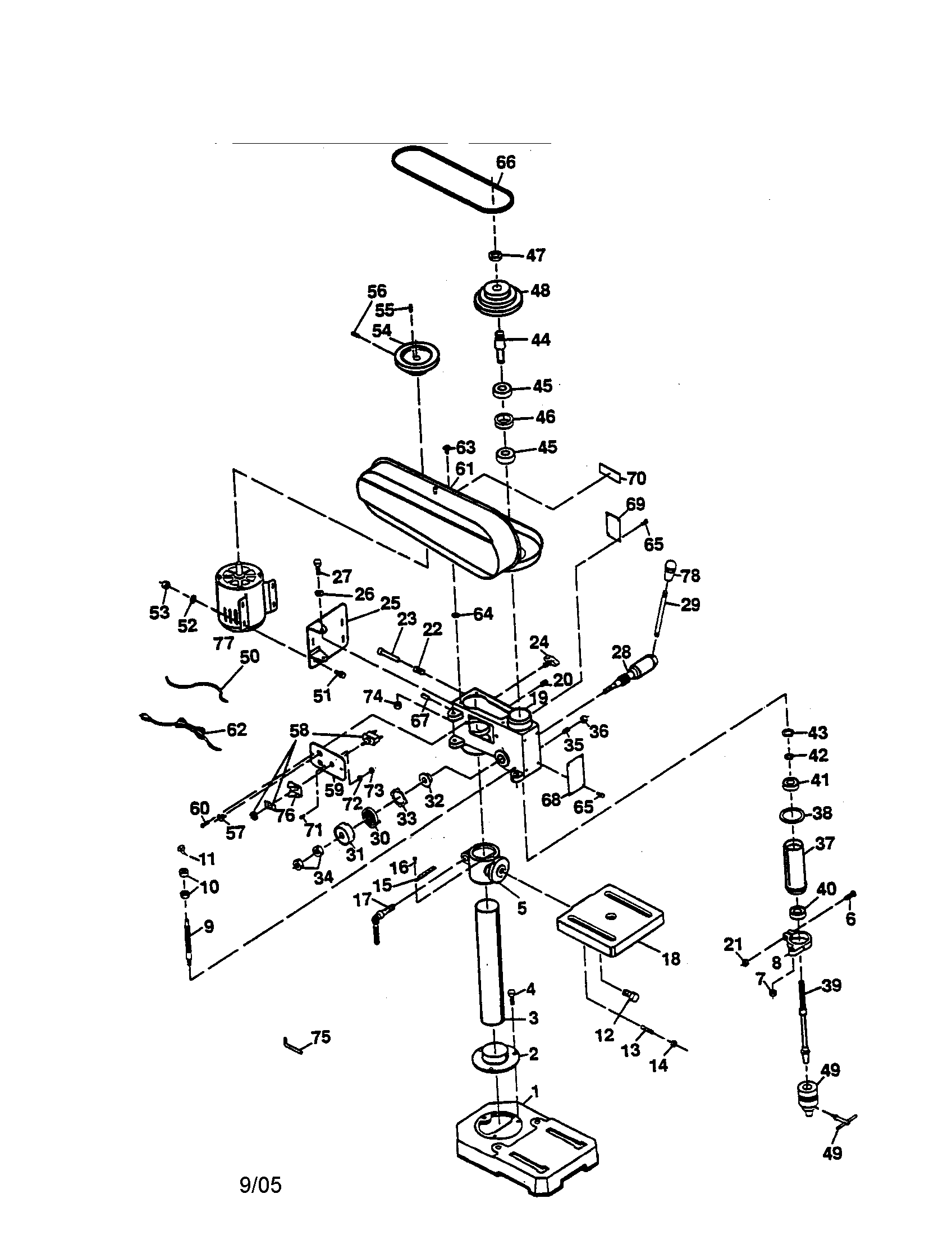
Ryobi drill press parts. Powered by a heavy duty induction motor for long lasting performance this drill press swivels 360 degrees and accepts mortising attachments for added versatility. For your ryobi power or lawn garden replacement part needs simply click on one of the following links to access replacement parts schematics as well as on line parts ordering through the ryobi master parts distributor. The 5 speed selections of the ryobi 10 in. Properly cared for it will give you years of rugged trouble free performance.
Departments accessories appliance parts exercise. Shop by parts or model. The place to buy tool spare parts online for your corded cordless and air powered tools. Replacement ryobi drill press parts coring drill parts online.
Find the ryobi ryobidp103l 10 drill press parts you need at tool parts direct. Genesis gdp1005a 10 5 speed 41 amp drill press with 58 chuck integrated led work light and table that rotates 3600 and tilts 0 450 39 out of 5 stars 44 14767 147. Thank you for buying a ryobi bench top drill press. Drill press helps you complete a wide range of drilling applications.
The 5 speed selections of the ryobi 10 in. Drill press helps you complete a wide range of drilling applications. Shop for ryobi drill press parts today. Tool parts direct has thousands of drill press parts coring drill parts to fix ryobi tools.
Ryobi drill press parts that fit straight from the manufacturer. Welcome to the ryobi parts web portal. Use our interactive diagrams accessories and expert repair help to fix your ryobi drill press. We source only genuine spare parts products direct from the manufacturers.
Find genuine replacement parts along with great repair advice and 365 day returns.