Sears Router Parts

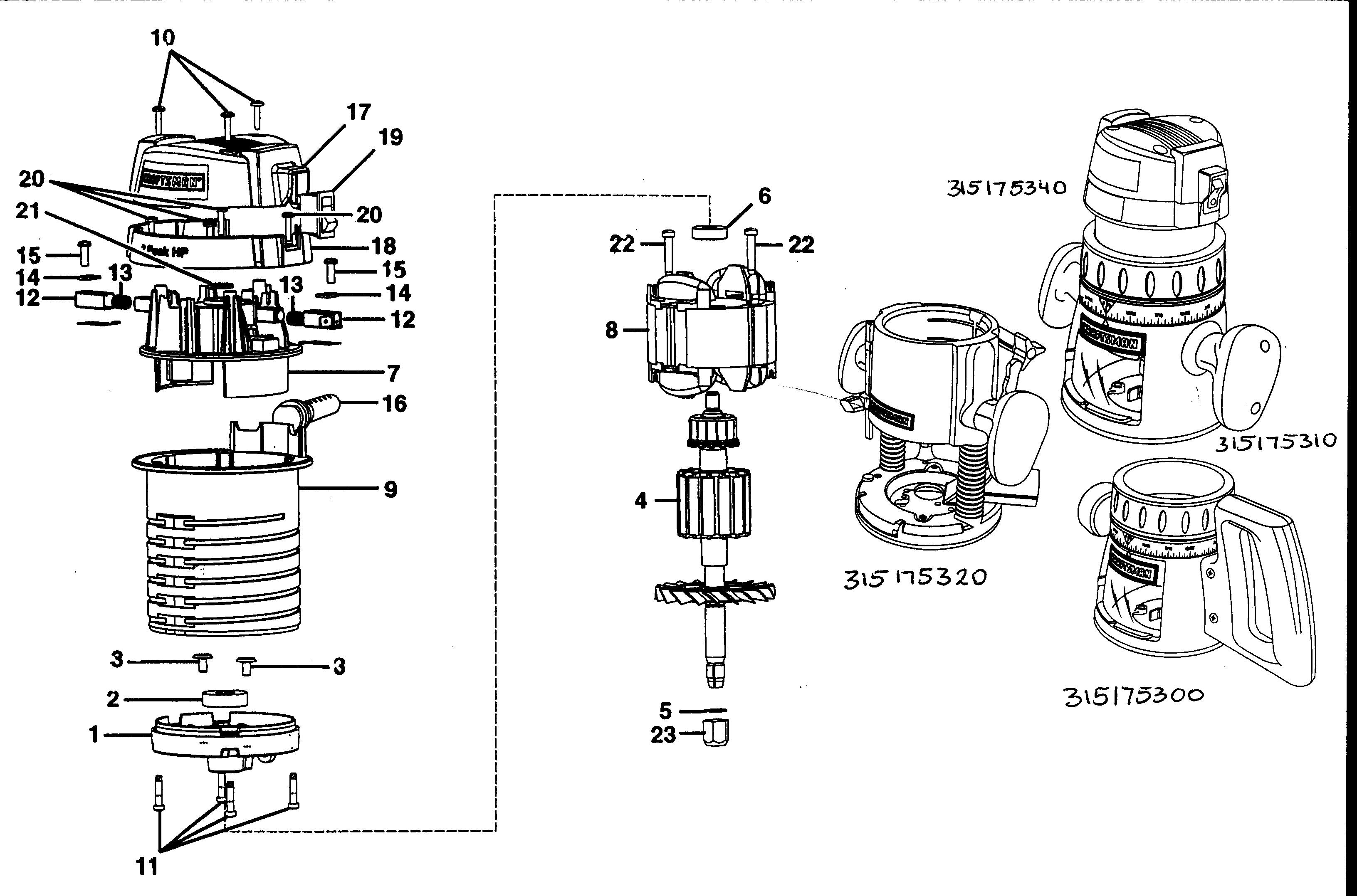
Craftsman 315175340 Router Parts Sears Parts Direct

Craftsman 315175340 Router Parts Sears Parts Direct

Craftsman 31517380 Router Parts Sears Parts Direct

Craftsman 31517380 Router Parts Sears Parts Direct

Craftsman 315275000 Router Parts Sears Parts Direct

Craftsman 315275000 Router Parts Sears Parts Direct


Sears Craftsman 315 174710 Dbl Insulated 1 1 2 Hp 25000 Rpm Corded

Sears Craftsman 315 174710 Dbl Insulated 1 1 2 Hp 25000 Rpm Corded

Craftsman 37599 Router Table Sears Hometown Stores

Craftsman 37599 Router Table Sears Hometown Stores

Craftsman 137217100 User Manual Shaper Router Manuals And Guides

Craftsman 137217100 User Manual Shaper Router Manuals And Guides

Craftsman 315 175 Owner S Manual Pdf Download Manualslib

Craftsman 315 175 Owner S Manual Pdf Download Manualslib

Craftsman 31517560 User Manual Router Manuals And Guides 1007014l

Craftsman 31517560 User Manual Router Manuals And Guides 1007014l

Your Guide To Router Collets Popular Woodworking Magazine

Your Guide To Router Collets Popular Woodworking Magazine

Sears Router Manual Mod 315 17431 Router Forums

Sears Router Manual Mod 315 17431 Router Forums

Craftsman 315 175111 Operating Instructions Manualzz

Craftsman 315 175111 Operating Instructions Manualzz

Craftsman Chainsaw 358 351080 User Guide Manualsonline Com

Craftsman Chainsaw 358 351080 User Guide Manualsonline Com