Delta Sanding Center Model 31 280

Delta 31 280 Sanding Center 6 Belt 12 Disc Sander Instruction Manual 19 99 Picclick

Delta 31 280 Sanding Center 6 Belt 12 Disc Sander Instruction Manual 19 99 Picclick

Sander Score Pirate 4x4

Sander Score Pirate 4x4

Delta 31 280 Power Sander Parts Sears Parts Direct

Delta 31 280 Power Sander Parts Sears Parts Direct


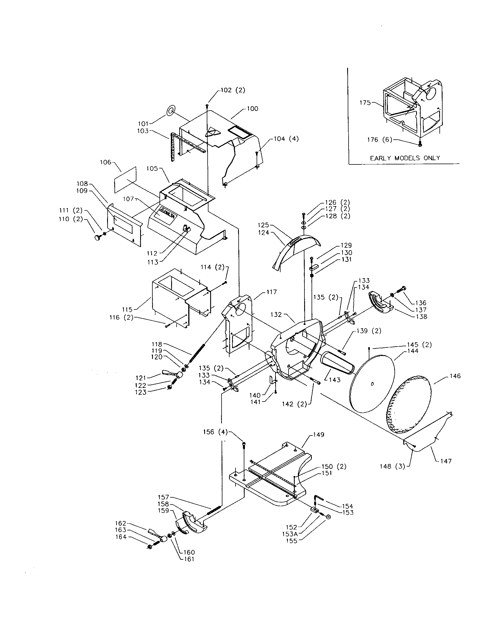
Delta 31 390 Instruction Manual Pdf Download

Delta 31 390 Instruction Manual Pdf Download

World Wide Auction

World Wide Auction

Delta 31 406 6 Inch X 48 Inch 120 Grit Sanding Belt Sander Belts Amazon Com

Delta 31 406 6 Inch X 48 Inch 120 Grit Sanding Belt Sander Belts Amazon Com

Delta 31 280 Belt Disc 286814 For Sale Used N A

Delta 31 280 Belt Disc 286814 For Sale Used N A

Sanders Professional Delta 6 X 48 Belt Sander

Sanders Professional Delta 6 X 48 Belt Sander

Delta Sanding Center 6 Belt 12 Disc Sander Model 31 280 280 00 Picclick

Delta Sanding Center 6 Belt 12 Disc Sander Model 31 280 280 00 Picclick

Business Office Industrial Supplies Delta 31 469 6 150 60 Grit Sanding Discs Abrasive Fine Coarse Circular Round Business Office Industrial Supplies Industrial Power Tools

Business Office Industrial Supplies Delta 31 469 6 150 60 Grit Sanding Discs Abrasive Fine Coarse Circular Round Business Office Industrial Supplies Industrial Power Tools

Delta Sanding Center In Concordia Ks Item Ei9477 Sold Purple Wave

Delta Sanding Center In Concordia Ks Item Ei9477 Sold Purple Wave

Http Www Mikestools Com Download Delta Sanders Owners Manuals Delta 31 280 Pdf

Http Www Mikestools Com Download Delta Sanders Owners Manuals Delta 31 280 Pdf