Bosch 1617evs Parts Diagram

Bosch 2hp Router Motor 16171 Ereplacementparts Com

Bosch 2hp Router Motor 16171 Ereplacementparts Com

Bosch 1617 Routers For Sale Ebay

Bosch 1617 Routers For Sale Ebay

Mlcs Marvel 60 Instruction Manual Manualzz

Mlcs Marvel 60 Instruction Manual Manualzz


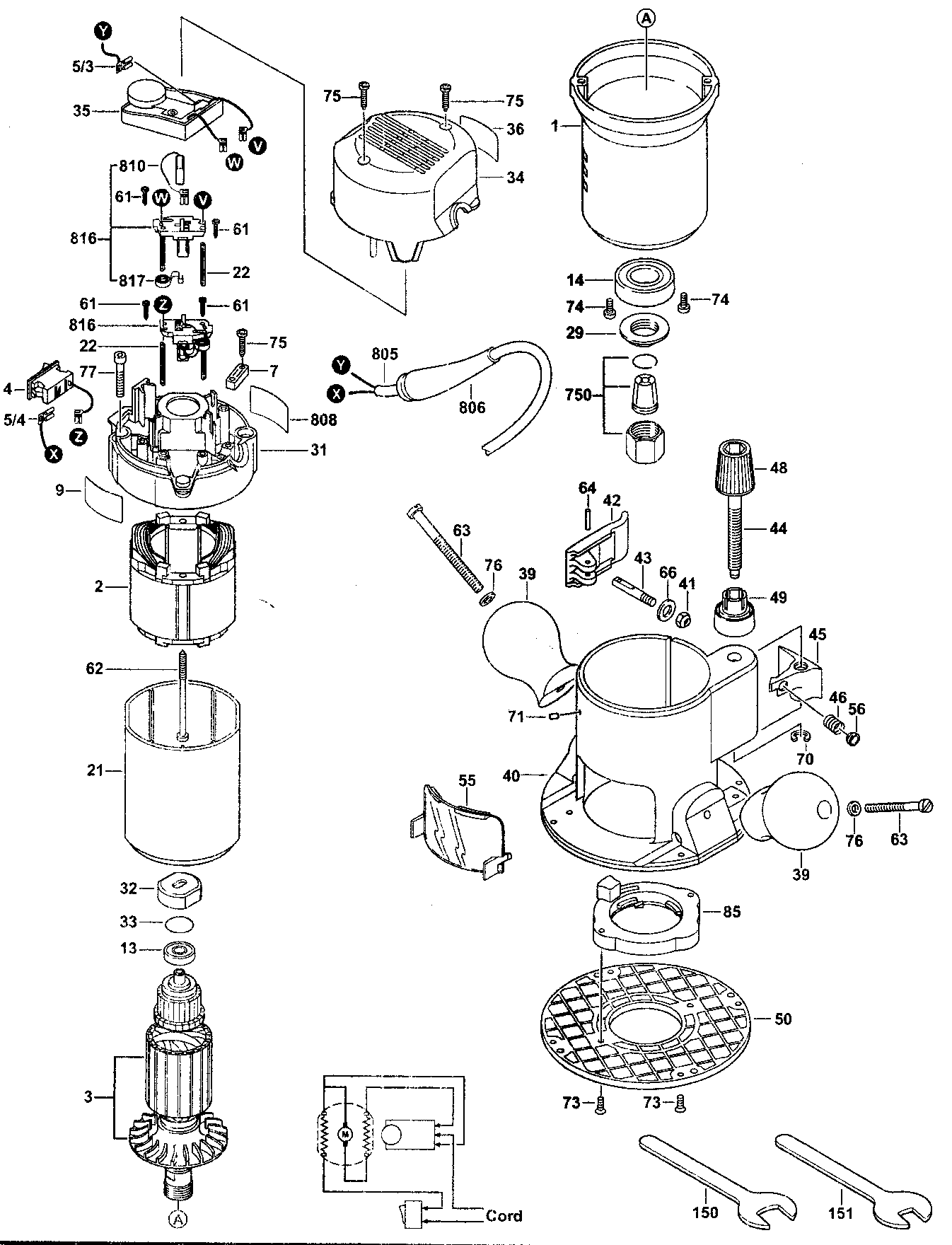
Bosch Router Parts Diagram And Partlist

Bosch Router Parts Diagram And Partlist

Bosch 1617 Parts List Bosch 1617 Repair Parts Oem Parts With

Bosch 1617 Parts List Bosch 1617 Repair Parts Oem Parts With

Bosch 1617evs Buy 1617evspk Canada Router Kit Lowes

Bosch 1617evs Buy 1617evspk Canada Router Kit Lowes

Bosch Router 1617 Evs 115v 0601617639 Partswarehouse

Bosch Router 1617 Evs 115v 0601617639 Partswarehouse

Bosch Router 1617evs Ereplacementparts Com

Bosch Router 1617evs Ereplacementparts Com

Genuine Spare Parts For All The Biggest Brands From Makita Ryobi

Genuine Spare Parts For All The Biggest Brands From Makita Ryobi

1617evspk 2 25 Hp Combination Plunge And Fixed Base Router

1617evspk 2 25 Hp Combination Plunge And Fixed Base Router

Bosch 1617evs Router Review

Bosch 1617evs Router Review

Buy Bosch 1617evs 0601617739 2 25 Hp Electronic Vs Fixed Base

Buy Bosch 1617evs 0601617739 2 25 Hp Electronic Vs Fixed Base